Принцип работы тормозного суппорта
Суппорт тормозной выполняет основную задачу – обеспечивает необходимое тормозное усилие, требуемое для замедления или остановки автомобиля.
Нажатие тормозной педали приводит к образованию давления в тормозной магистрали. Оно и передается на поршни суппорта, который в это время строго параллельно фиксирует колодки относительно диска. Во время торможения суппорта сжимают колодки с обеих сторон диска, что приводит к его замедлению. Но имеется и иной эффект. Он заключается в нагреве, так как энергия трения трансформируется в тепловую. Это существенно нагревает как диск, так и колодки с суппортами. Повышается и температура тормозной жидкости.
Подобный эффект ставит перед производителями определенные требования. Так суппорт тормозной передний обязан обладать следующими характеристиками:
- высокие показатели теплоотдачи;
- прочность;
- высокие характеристики сопротивляемости нагреву (чтобы повышение температуры не деформировало компоненты суппорта).
TheDraw
TheDraw – текстовый редактор MS-DOS (МС-ДОС) создать ANSI графика и анимация, а также ASCII искусства. редактор особенно полезна для создания и редактирования файлов в формате ANSI (Анси) и текстовые документы, которые используются символы из кода страницы IBM ASCII, потому что они больше не поддерживаются Microsoft Windows (Корпорация Майкрософт Windows). первая версия редактора была разработана в 1986 г. Ян Дэвис TheSoft Programming Services (TheSoft Услуги Программирования). последняя доступная версия редактора 4.63, выпущенный в октябре 1993 г. TheDraw был первым из редакторов ANSI, которые поддерживают более 25 строка символов ANSI. Ограничить количество строк последняя версия 100 строк. другие редакторы, такие как ACiDDraw больше поддержки 100 строка символов ANSI в одном файле ANSI / ASCII ACiDDraw (Стандарт ANSI / ASCII и ACiDDraw) поддержка 1.000 строк. В режиме анимации количество строк ограничивается 50. число столбцов может быть увеличен от стандартных 80 символы до 160, но он также уменьшает количество строк до 50.
Рангаку
Чин – набор Европейского научного знания, проникла в Японию в период политики sakoku, преимущественно через голландскую торговую факторию на искусственном острове Дэдзима в гавани Нагасаки. До 1720 года распространение западных знаний в японском обществе считается опасным. есть монополия на перевод голландских книг, это дело было передано в закрытый магазин переводчиков в течение ряда поколений, занимаются в транскрипции Западного знания в японской моде. После 1720 года политика изоляции была несколько ослаблена, что привело к аккультурации западных научных знаний в японском обществе. этому способствовал и почти всеобщая грамотность японского, особенно у жителей городов. В закрытом состоянии из Японии начали поступать такие западными изобретениями, как механические часы, микроскопы, зрительные трубы и насосы, которые были тщательно изучены учеными. спрос и безделушки, как волшебные фонарики, со временем была создана производителем своих японских коллег. самые интересные были книги медицинского содержания, а также информацию об исследовании возможности электричества. После 1803 года ограничения на распределение рейтингов был постепенно удален, последние преследования “специалистов по варварским наукам” был отмечен в 1839 году. образованные на западный манер японской, например, повивальная бабка Kusumoto Ине получил большее одобрение. Активные исследования и разработки рангаку позволило японцам подготовку к открытию страны для европейцев и в короткие сроки, чтобы уменьшить свою инфраструктуру и технологическое отставание от Европы.
Рейтинг популярных тормозных дисков
Тормозной диск – важная комплектующая автомобиля. От качества детали зависит безопасность и комфорт вождения. Развитие науки и техники позволяет совершенствовать технические характеристики и находить новые решения в деле автомобильной комплектации. Существует небольшой рейтинг лидерами рынка, специализирующихся на производстве расходников.
Ferodo
Компания, входящая в английский концерн Federal-Mogul, занимается производством элементов тормозных систем с конца 19 века. Специализируется на запчастях для легкового и коммерческого транспорта.
Тормозные диски Ferodo – элитный товар. Характеризуются высоким качеством, износостойкостью, равномерностью нагрева и устойчивостью к высоким температурам, обеспечивающим отличное торможение. Продукт покрыт антикоррозийным составом.
Nibk
Концерн JNBK (Япония) выпускает диски и колодки, а также имеет большой ассортимент других запасных частей для городских авто
В последнее время уделяет большое внимание комплектующим для спортивных машин
Продукция Nibk соответствует высоким стандартам качества, цены при этом доступные. Особые технологии производства чугуна позволяют увеличить время эксплуатации изделия.
https://youtube.com/watch?v=0XlukQkO-20
Диски покрыты антикоррозийным покрытием, обладают повышенной сопротивляемостью агрессивным химическим составам, характерным для городских дорог, защищены от влаги. Небольшой недостаток заключается в шуме, производимом деталью во время работы.
Brembo
Итальянский лидирующий производитель комплектующих для тормозных систем. Оригинальные диски Brembo имеют уникальное, затвердевающее под УФ-лучами покрытие, производимое на водной основе, что делает его безвредным для окружающей среды.
Оно защищает деталь от воды и соли, что особенно важно для езды по городу
Bosch
Известный немецкий производитель как запасных частей для автомобилей, так и бытовой техники, инструментов и т.д.
Изготавливается диски для легковых авто, мотоциклов, грузовиков и споркаров. Продукция Bosch долговечна, устойчива к износу, не производит много шума, сохраняет функциональность при любой погоде.
Lucas TRW
TRW – ведущая европейская компания по производству комплектующих. Диски этой фирмы качественные и безопасные. Материал изготовления – чугун и высокоуглеродистые сплавы.
Чугунные изделия прочны и покрыты защитным слоем, поэтому не ржавеют. Детали из сплавов обладают меньшим весом, устойчивы к деформациям и воздействию температур.
Ebc brakes
Продукция английской компании популярна как в Европе и Азии, так и в Соединенных Штатах. Является лидером среди производителей комплектующих для мототранспорта, но выпускает детали и для спортивных и городских авто.
EBC brakers использует технологию проверки изделий рентгеном для отбраковки деталей с внутренними дефектами (полостями и т.д.), что повышает качество продукта. Перфорированные изделия не имеют сквозных отверстий, что исключает риск растрескивания запчасти.
Otto zimmermann
Известный немецкий производитель неоригинальных запасных частей. Высокое качество по доступной цене. Фирма выпускает продукцию как для конвейерной сборки, так и для вторичного рынка.
Диски OZ идентичны оригинальным и соответствуют требованиям оригинальных производителей. Качество хорошее, устойчивы к истиранию.
Ate
Еще один немецкий бренд неоригинальных деталей, качество которых соперничает с оригинальными. Диски Ate представлены всего двумя линейками: оригиналы и усиленные. Оригинальные детали производятся для большого количества мировых марок авто, в том числе для Mercedes.
Конструкция усиленных позволяет изделиям выдерживать повышенные нагрузки при спортивной езде, машина держит дорогу и на мокрой трассе, не боятся грязи, влаги и перегрева.
Audi Shooting Brake
Audi Shooting Brake (Ауди Съемки Тормоза) – концепт-кар, показанный на Токийском автосалоне в 2005 году германским автопроизводителем Audi (Ауди). автомобиль был основан на Audi TT (Ауди ТТ) второго поколения. концепт оснащен фирменной системой полного привода quattro (Кватро). Примечательные дизайнерские решения: Ищу заднее стекло линия. Заднее стекло трапециевидные и криволинейные, выпуклые крыши багажного отсека контрастирует с плоский дизайн передней. Решетка Singleframe с сильными вертикальными хромированными планками. Как и любой концепт-кар Audi (Ауди), Shooting Brake (Съемки Тормоза) продемонстрировали целый ряд технических новинок для Токио: активная подвеска Audi magnetic ride (Ауди магнитный ездить), обновленную навигационную систему с сенсорным экраном и распознаванием письма и новую технологию передних фар на светодиодах.
Газель
“Газель” – серия Российских малотоннажных автомобилей, производимых на Горьковском автомобильном заводе с 20 июля 1994 год. Сборка автомобилей семейства “Газель” российские наборы “отвёрточная сборка” также выпускался на нескольких предприятиях стран СНГ и дальнего зарубежья. В январе 2003 года семейные “ГАЗель” прошло рестайлинг и внешне отличалось от ранней серии новым оперением, решеткой в 2000-2003 она из 12 пластик квадратов в общей сложности хромированная рамка, до 2000 года рама была полностью пластиковый, бампер и фонари на рестайлинг фары стали прямоугольными. В августе 2005 года был произведен миллионный “ГАЗель”. Автомобили “ГАЗель” относятся к классу N1 метров квадратных с разрешенной максимальной массой не более 3500 кг, что позволяет управлять кроме минивенов в наличие водительские права “легковой” категория “В”, и на “ГАЗель” не по принуждению знака 3.4 “Движение грузовых автомобилей запрещено” при условии, что знаке масса не указана. но в Москве “ГАЗель” при условии наличия разрешений и пропусков для грузоперевозок в пределах Третьего транспортного кольца для контроля пассажиров микроавтобуса “ГАЗель” требуется категория “автобусная” “D1”. Февраль 2010 года начато производство улучшенной версии автомобиля “Газель-Бизнес” второй рестайлинг “Газель”, у официальных дилеров продажи стартовали 25 февраля. Весна 2013 года приступил к производству машин нового поколения “ГАЗель-Next”. автомобиля был унаследован от “старой” “ГАЗели” только рама, коробка передач и задний мост. кабина полностью новая, несколько больше, чем в “ГАЗелей” предыдущих поколений.
Виды тормозных дисков

Тормозные диски должны обладать хорошей теплопроводностью и теплоемкостью, быть жесткими и выдерживать воздействие колодок. Изделия различаются по размеру, что в конечном итоге влияет на размер подходящего колеса. Очевидно, что для каждой машины необходимо подбирать соответствующие ей комплектующие.
В зависимости от особенностей конструкции различаются:
- обычные диски;
- вентилируемые;
- перфорированные;
- с насечками.
Обычные
Цельная, без отверстий, деталь без каких-либо хитростей в конструкции. Используется на старых машинах, для которых свойственная спокойная езда.
Быстро нагреваются и медленно остывают. Не самая эффективная модель, но зато простая и доступная.
Вентилируемые тормозные диски

Трение колодок о диски приводит к нагреву детали. Единственным способом понизить температуру является охлаждение изделия воздухом.
Вентилируемые модели представляют собой «сэндвичи» из 2 обычных роторов с перегородками. Конструкция помогает воздуху циркулировать в созданных просветах и эффективно отводить тепло.
Перфорированные диски

Для тех же целей на поверхности перфорированных дисков выполняются отверстия. Уменьшенная жесткость компенсируется снижением риска получить деформацию при температурных колебаниях.
Диски с насечками

На поверхности диска выполнены косые углубления (насечки). Они помогают отводить горячий воздух от рабочей поверхности, увеличивают площадь диска для более качественного охлаждения и снижают взаимодействие с колодкой, что помогает уменьшить нагрев деталей.
Типы суппортов их особенности
Выделяют фиксированные и плавающие изделия.
Фиксированные крепятся жестко к подвеске. В металлическом корпусе по обе стороны от диска стоят цилиндры. Нажатие педали приводит поршни внутри цилиндров в движение, сжатие колодок происходит в двух сторонах одновременно.
Цилиндров в суппортах такого вида несколько, что повышает эффективность устройства. Поэтому такие модели ставят на транспорт, требующий усиленной тормозной системы (грузовики, спортивные авто, мотоциклы).
Фиксированный суппорт не имеет направляющих, что делает его простым и долговечным. Но минус заключается в их тяжести и увеличенных габаритах.
Плавающие прикрепляются к подвеске направляющими штырями (пальцами). Направляющие обеспечивают ход суппорта. Поскольку поршень в таких моделях прижимает только одну из колодок, вторая колодка, закрепленная на плавающей скобе, прижимается к диску, перемещаясь вместе с суппортом по направляющим.
Работа механизма происходит следующим образом: нажатие на педаль, поршень прижимает к диску одну из колодок, затем сдвигается весь суппорт, пока противоположная колодка не упрется в диск с другой стороны.
Большинство легковых машин оснащены именно плавающими моделями тормозных элементов. Такие изделия просты, имеют небольшой вес и стоимость ниже, чем у фиксированных, но чуть менее эффективны.
Как правило, в плавающих моделях от одного до двух цилиндров, фиксированные имеют 6-8. По конструкции различаются также задний и передний суппорта. Разница в размерах и наличии стояночного тормоза в моделях для задних колес.
Устройство дисковых тормозов
Дисковые тормоза – устройства, работающие за счет силы трения (фрикционное действие). В современных авто применяются наряду с барабанными.

Механизм состоит из следующих элементов:
- Суппорт. Деталь изогнутой формы, изготовленная из чугуна либо алюминия. Крепится к поворотному кулаку и выполняет несколько функций: удерживает тормозные колодки, является местом размещения тормозного цилиндра.
- Цилиндр. Подвижная часть этой детали – поршень, необходим для механического воздействия на тормозные колодки.
- Колодки. 2 колодки размещаются с внешней и внутренней стороны дисков и представляют собой пластины со специальной прослойкой из материала с большим коэффициентом трения (фрикционный материал). Сдвигаемый поршнем элемент ложится на поверхность тормозного диска, замедляя его движение.
- Скоба. Удерживает колодки в таком положении, чтобы обе прилегали к диску равномерно.
- Диск тормоза (ротор). Крепится к ступице, образуя жесткое соединение, так что диск вращается вместе с колесом. От материала, из которого изготовлен диск, и его конструкции в большей мере зависит эффективность работы всей системы.
- Защита (кожух). Препятствует загрязнению элементов.
Материалы тормозных дисков
При производстве роторов используются различные материалы, характеристики которых влияют на качество, долговечность и работоспособность изделий.

Чугун – наиболее распространенный и доступный материал. Его свойства обеспечивают высокую износостойкость расходников. Но перепады температур и влага могут привести к его порче, а при продолжительном простое деталь быстро ржавеет
Важно отметить и большой вес тормозного элемента, но в любом случае основная масса реализуемых комплектующих чугунная
https://youtube.com/watch?v=6ZnhyJAeQSY
Детали, сделанные из нержавейки, не подвержены коррозии, выносят резкие изменения температуры, но фрикционные качества несколько снижены.
Карбон легче чугуна, имеет хороший коэффициент трения, увеличенную рабочую площадь, но требует дополнительного ухода (прогрева перед началом работы) и при этом достаточно дорогой.

Керамическими дисками оснащают спорткары, что оправдано, ведь такие расходники долговечны, легки, прочны, устойчивы к износу, не ржавеют и выдерживают высокие температуры. Но слишком дороги для тюнинга обычных автолюбителей.
Неисправности системы
Как обычно, подходя к вопросу о различных поломках и неисправностях, их насчитывается огромное количество.
Газель схема тормозной системы
Однако, существует ряд проблем, с которыми водители сталкиваются гораздо чаще, по этой причине следует знать некоторые из них, например:
- Проваливание педали тормоза;
- Ослабление тормозов или их неравномерное срабатывание;
- Увеличение остановочного пути;
- Сложность при нажатии на педаль для замедления или остановки машины;
- Крен машины при торможении;
- Срабатывание тормозов без нажатия на соответствующую педаль;
- Движение машины в положении «стоя».
Этот список можно продолжать еще довольно долго, однако, тут приведены самые распространенные примеры проблем, которые испытывает тормозная система.
При любом проявлении хотя бы одной из них, следует незамедлительно обратиться к специалистам за диагностикой, иначе вы подставляете опасности не только свою Газель, но и всех ее пассажиров, в том числе и себя.
Способы ремонта суппорта
Неисправности суппорта могут быть разными. Однако можно выделить наиболее частые случаи, а также рекомендации по их устранению.
Тормозные колодки подклинивают в суппорте
Это заметно, когда при демонтированном суппорте колодки не перемещаются в свободном ходе. Обычно причина в ржавчине на неподвижных колодках суппорта, которая и мешает перемещению колодок.
Для ликвидации проблемы стоит вооружиться наждачной бумагой, щеткой по металлу и напильником (но только мелким). Затем нужно счистить коррозию с металла, после чего смазать поверхность смазкой высокотемпературного типа. Однако на суппорте не должно быть выработки – ямок от коррозии. При их наличии зачистка не поможет – колодка будет недостаточно плотно прижиматься либо недостаточно быстро отходить от поверхности тормозного диска.
Иногда такой дефект можно устранить напильником (при условии незначительной выработки), но обычно приходится покупать новую часть суппорта (неподвижную).
Ещё кое-что полезное для Вас:
Коррозия на поршне суппорта
Ее может спровоцировать либо дефектный пыльник, либо длительный простой машины.
Для устранения неисправности рекомендуется демонтировать и разобрать суппорт. Вынуть из него поврежденный ржавчиной поршень и отшлифовать его специальной пастой или мелкой ржавчиной. После этого тщательно промыть посадочное место поршня жидкостью WD-40 и собрать суппорт заново. Не помешает и установка новых манжетов. Но лучшим вариантом станет покупка нового поршня или суппорта в сборе.
Клинят направляющие суппорта
Необходимо достичь свободного перемещения по направляющим. Для этого потребуется демонтировать колодки, после чего вновь собрать суппорт тормозной и попробовать двигать его по направляющим. При затрудненном скольжении рекомендуется принять меры – проинспектировать направляюще на предмет изгиба или излома, смазать их, почистить и т. д. Нужно добиться свободного перемещения.
Клинит поршень в суппорте
Для проверки нужно отпустить штуцер прокачки после того, как колодки заклинят. В случае неисправности, подклинивания после этого не наблюдается. А при демонтированном суппорте крайне сложно обратно вдавить поршень.
Для профилактики можно периодически заводить поршень до упора внутрь суппорта посредством винта, после чего выталкивать его педалью наружу. Но не целиком, дабы он не выпал.
Источник статьи: http://avtomotoprof.ru/obsluzhivanie-i-uhod-za-avtomobilem/tormoznoy-support-konstruktsiya-printsip-rabotyi-i-sposobyi-remonta/
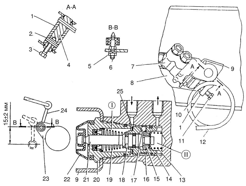
Регулятор давления ГАЗ 2705
|
|
Рис. 8.4. Регулятор давления: С = 28-32 мм (для автобусов), 13-17 мм (для автофургонов); 1 — нажимной рычаг; 2 — штифт; 3 — фиксирующий болт; 4 — ось нажимного рычага; 5 — гайка; 6 — ось; 7 — корпус; 8 и 9 — кронштейны регулятора; 10 — контргайка; 11 — регулировочный болт; 12 — нагрузочная пружина; 13 — пружина; 14 — гильза поршня; 15 — управляющий конус; 16 — прижимная пружина; 17 — шарик; 18 — упорная скоба; 19 — возвратная пружина; 20 — втулка; 21 — поршень; 22 — защитный чехол; 23 — кронштейн моста; 24 — стойка; 25 — пружинная шайба |
Регулятор давления (рис. 8.4) корректирует давление тормозной жидкости, поступающей к тормозным механизмам задних колес, в зависимости от загрузки автомобиля, что предотвращает занос автомобиля при интенсивном торможении.
Регулятор крепится к левому лонжерону рамы через кронштейн 8, а с помощью нагрузочной пружины 12 и стойки 24 связан с задним мостом автомобиля. Нагрузочная пружина верхним коротким концом через нажимной рычаг 1 действует на наружный конец поршня 21, а длинным концом через стойку 24 соединена с кронштейном 23, приваренным к заднему мосту автомобиля.
Регулятор давления состоит из корпуса 7, в который установлена гильза 14 и ввернута втулка 20.
Ступенчатый поршень 21 перемешается во втулке и гильзе, при этом в полости I, постоянно связанной с главным цилиндром, находится часть поршня малого диаметра, а в полости II, постоянно связанной с колесными цилиндрами задних тормозных механизмов, — большего диаметра. На поршне закреплен управляющий конус 15, который воздействует на шарик 17, находящийся в отверстии гильзы 14. Шарик удерживается в отверстии пластинчатой пружиной 16.
Нагрузочная пружина 12, усилие которой прямо пропорционально загрузке автомобиля, определяет начало включения регулятора, а разность диаметров поршней — корректировку давления жидкости, поступающей к задним тормозным механизмам.
До вступления в действие регулятора давление жидкости в полостях I и II одинаково, так как под действием пружины 19 и нагрузочной пружины 12 поршень 21 через упорную скобу 18 прижат к гильзе 14, а шарик 17 поднят от седла управляющим конусом 15, что и обеспечивает свободное прохождение жидкости из полости I в полость II.
При торможении вначале давление жидкости в полостях I и II будет одинаково до тех пор, пока сила, полученная от давления на большую часть поршня 21 (полость II), не будет больше суммы сил, полученных от действия пружин 12 и 19 и от давления жидкости на площадь, образованную между большим и малым диаметрами поршня (полость I). В этом случае поршень переместится влево (по рисунку), управляющий конус 15 отойдет от шарика 17, который переместится в седло гильзы 14, чем разобщит полость I с полостью II. С этого момента давление жидкости в полости II, поступающей к задним тормозным механизмам, будет расти медленнее и при этом будет меньше, чем в полости I.
При снятии усилия с тормозной педали давление в полости I падает, поршень 21 возвратится в исходное положение (на рисунке вправо), а управляющий конус, подняв шарик, откроет доступ жидкости из полости II в полость I.
Гильза 14 поршня под действием давления в полости II передвинется влево (по рисунку), и шарик 17 отойдет от седла под действием управляющего конуса 15, открыв доступ жидкости из полости II в полость I.
После падения давления жидкости гильза поршня 14 и поршень 21 под действием возвратной пружинной шайбы 25 и пружины 19 вернутся в исходное положение.
Видео про «Регулятор давления» для ГАЗ 2705
Замена регулятора давления топлива на ГАЗ 405/406
Замена датчика давления ГАЗель
Газель ремонт.Топливный насос фильтр.Реанимация.Восстановление
Тормосин
Ферма Tormosin расположен в Чернышковском районе Волгоградской области в 47 километрах от районного центра р. п. Чернышковской административный центр поселок Совхоза тимошенковского. сельские, извиваясь, тянется на несколько километров вдоль реки Аксенными. С юга, юго-запада Tormosina начать Цимлянские пески газонами и деревьями. На другой стороны поля, степи, перемежаемые лесополосами, много оврагов. В 20 километрах к юго – Цимлянское водохранилище Высота. моря 47 метров. На ферме проживает около 1350 люди больше чем 500 семей. одноэтажные дома, в основном из дерева и кирпича.
Суппорт тормозной передний – типы конструкции
Развитие данных механизмов отразилось в их разделении на 2 категории, в зависимости от компоновки:
- Фиксированная конструкция – он представляет собой корпус, изготовленный из металла, а с обеих сторон тормозного диска находятся рабочие цилиндры. Их расположение симметрично. При этом сам корпус зафиксирован на поворотном кулаке. В состоянии покоя колодки держатся за счет специальных пружин, а во время торможения происходит их сжатие, в результате чего они прижимаются к поверхности диска. Для обеспечения работы такой конструкции требуется, дабы тормозная жидкость подавалась одномоментно во все цилиндры, что достигается за счет целой системы шланг, патрубков и различных трубок. Такие тормоза отличаются высокой эффективностью, благодаря чему они идеально подходят для авто с мощными моторами и большой массой – гоночные и представительские модели. На таких суппортах специализируются всемирно известные бренды – Brembo и другие.
- Плавающая скоба – принципиальное отличие такого суппорта от фиксированного в том, что одна из колодок находится в неизменной позиции. Его конструкция предполагает наличие кронштейна, а также цилиндра, который зафиксирован на внутренней стороне. Обычно подобные суппорта являются одно- или двухпоршневыми. Процесс торможения следующий – поршень нажимает на колодку и прижимает ее к диску, а по окончании данной фазы скоба (плавающий тип) начинает сдвигаться в сторону поршня, скользя по направляющим. За счет этого к поверхности диска прижимается еще одна колодка.
Такая конструкция обычно встречается на машинах бюджетных сегментов, так как она дешевле в производстве и проще.
Немного истории
Первым, кто создал такую модель тормозов (дисковый тип), стал Фредерик Ланчестер (Великобритания). Именно в его конструкции использовался суппорт, прижимающий колодки. Тем не менее, тогда технологии не позволяли создавать надежные дисковые тормозные системы.
Возродились дисковые тормоза в авиации, а в 50-х годах их начали ставить и на автомобили – сначала на спортивные модели, а потом и на серийные. Первой машиной с серийными передними дисковыми тормозами стала модель Chrysler Crown Imperial (в 1949 году).
Важность этого компонента сложно переоценить, ведь тормозные диск и колодки являются пассивными компонентами, тогда как суппорт выполняет активную роль. За счет него и происходит прижимание колодок
Следовательно, именно суппорт тормозной является важнейшим компонентом.
Замена ремкомплекта суппорта
Наиболее сложной и ответственной операцией при ремонте суппортов является замена ремкомплекта суппорта. В ходе этой операции меняются все уплотнения и резинотехнические изделия суппорта.
Для начала, вы должны приобрести ремкомлект для суппорта вашего автомобиля. Для этого в автомагазине вы должны будете сообщить продавцу марку и модель вашего автомобиля, год его выпуска и прочие данные, которые спросит продавец.
Для проведения ремонта при помощи ремкомплекта, для начала необходимо демонтировать суппорт. После этого перенести его на верстак и полностью разобрать
Очень важное замечание – место, в котором разбирается суппорт, должно быть максимально чистым. Попадание даже самой маленькой песчинки внутрь суппорта грозит скорым выходом его из строя
При разборке суппорта, рекомендуется записывать или фотографировать места и способы установки тех или иных деталей.
В большинстве своем вам необходимо будет заменить следующие резиновые изделия:
- Уплотнение тормозного цилиндра;
- Пыльник тормозного поршня;
- Пыльники направляющих;
- Уплотнения направляющих;
- Уплотнительное кольцо штуцера прокачки.
Если на рабочей поверхности тормозного поршня присутствует глубокая коррозия (с образованием каверн), то поршень также необходимо заменить.
Сборку суппорта производить в порядке обратном разборке. После этого суппорт необходимо установить на автомобиль, смазать направляющие и прокачать тормоза. Как вы уже знаете, для этого вам потребуется помощник или специальное устройство.
Источник статьи: http://seite1.ru/zapchasti/tormoznoj-support-tipyprincip-rabotyneispravnostiremont/.html
- Свежие записи
- Где находится датчик давления масла ЯМЗ 7511?
- Разбираемся в терминах: что означает «банк 1» и «банк 2» в датчике кислорода
- Приора: последствия поломки датчика коленвала
- Что произойдет, если отключить датчик массового расхода воздуха?
- Что произойдет, если не заменить датчик кислорода?
Плавающего типа
При торможении поршень, под действием давления жидкости, прижимает внутреннюю колодку к тормозному диску колеса. Суппорт перемещается на направляющих пальцах в обратную сторону, тем самым выравнивая силу прижатия внутренней и наружной колодок к диску. Направляющие пальцы суппорта смазаны консистентной смазкой и защищены от влаги и других источников воздействия резиновыми чехлами. В суппортах обоих типов поршни отводятся от тормозных колодок на небольшое расстояние за счет упругости уплотнительных колец, в результате чего между дисками и колодками образуется небольшой зазор.
Фиксированные
Суппорт такого типа включает в себя металлический корпус с расположенными симметрично двумя рабочими цилиндрами. Корпус жестко закреплен на кронштейнах автомобиля (обычно на кулаке передней или задней подвески). В механизме используется гидравлическое давление для поджатия колодок к тормозным дискам одновременно с двух сторон обоими поршнями. За счет отсутствия потерь времени и сил на движение скобы и регулирование сил прижатия тормозных колодок, такой тип тормозного механизма скорее включается в работу и более информативен для водителя. Колодки удерживаются в системе специальными пружинами. Поршни в таких суппортах связаны между собой системой трубок или внутренними каналами тормозного суппорта. Жесткозакрепленные суппорта, в свою очередь, делятся на разделяемые и цельные. Для того чтобы извлечь поршни в неразделяемых суппортах достаточно подать давление воздуха через отверстие тормозного шланга и поршни выйдут из цилиндров. В разделяемом типе расстояния между стенками корпуса суппорта недостаточно чтобы вытащить одновременно оба поршня — поэтому корпус сделан разборным. Две половинки корпуса обычно стягиваются между собой болтами или винтами.



























