Чего не «любит» рулевая рейка
Любой маневр, даже на ровной дороге и высокой скорости, серьезно нагружает механизм управления, поэтому любая дополнительная нагрузка увеличивает износ основных элементов. Пренебрежение обслуживанием является еще одним фактором, сокращающим срок службы рулевой рейки, ведь со временем смазка и гидравлическое масло теряют свои свойства, манжеты и сальники протекают, а контакты покрываются коррозией.
Однако наиболее страшным врагом является удар, который подвеска и рулевое управление получают во время проезда автомобиля по неровной местности. Причем чем выше скорость движения и чем сильней перепад, тем тяжелее последствия.
Именно поэтому подвеска и рулевое управление настоящих внедорожников сильно отличаются от того, которое устанавливают на обычные легковушки. Чтобы продлить жизнь рейки, не пренебрегайте обслуживанием и ездите аккуратно, берегите свою машину.
Признаки неисправности рулевой рейки
Вот наиболее частые признаки неисправности рулевой рейки и их причины. Часть из них появляется, когда водитель начинает рулить, то есть поворачивать баранку, другие же влияют на поведение автомобиля, даже когда он стоит на месте.
| Симптомы | Причины | Что делать |
| Тугой руль на машинах с ГУР | ● Завоздушивание гидроусилителя из-за утечки жидкости;
● неисправность насоса ГУР или ослабление ремня его привода; ● стершиеся уплотнительные кольца или изношенный корпус распределителя/гидроцилиндра; ● закис карданчик рулевого вала. |
Проверить все по очереди, затем устранить причину |
| Быстрое падение уровня жидкости в бачке | ● Повреждение шлангов или трубок гидроусилителя;
● протекание манжет или сальников. |
Подтянуть или заменить трубки/наконечники (не сорвите резьбу) |
| Тугой руль на машинах с ЭУР | ● Отказ одного из датчиков;
● обрыв провода; ● перегоревшая обмотка двигателя электроусилителя руля; ● перегоревший предохранитель ЭУР; ● закис карданчик рулевого вала. |
Проверить все по очереди, затем устранить причину |
| Тугой руль на машинах без ГУР или ЭУР | ● Закис карданчик рулевого вала;
● сильный износ зубцов редуктора; ● высыхание смазки; ● заклинило пальцы рулевых наконечников. |
Проверить все по очереди, затем устранить причину |
| Стук во время поворота руля | ● Износ втулки или прижимного башмака;
● изношенные сайлентблоки или пальцы наконечников; ● стершиеся зубцы редуктора. |
Проверить все по очереди, локализовать источник стука, определить, причина в подвеске или рейке, затем отремонтировать |
| Стук во время езды по неровностям | ● Износ втулки или прижимного башмака;
● изношенные сайлентблоки или пальцы наконечников. |
Проверить все по очереди, локализовать источник стука, определить, причина в подвеске или рейке, затем отремонтировать |
| Люфт руля на рейках без ГУР и ЭУР | Стершиеся зубцы редуктора | Заменить вал и шток |
| Люфт руля на рейках с ГУР или ЭУР | Изношенный торсион распределителя | Установить новый торсион, настроить нулевую точку на рейке с ЭУР |
| Баранка туго поворачивается в одну сторону (рейка с ГУР) | Изношен корпус или одно из колец распределителя | Разобрать распределитель, проверить его состояние, при необходимости установить ремонтную втулку, поставить новые колечки |
| Баранка туго поворачивается в одну сторону (рейка с ЭУР) | Проблемы с датчиком усилия или проводкой | Проверить все по очереди, найти и устранить причину неисправности |
| Руль произвольно поворачивается (ГУР) | Неправильно подключены магистрали после ремонта или снятия рулевого механизма, изношены корпус или одно из уплотнительных колец распределителя | Проверить правильность подключения магистралей, если все нормально, отремонтировать распределитель |
| Руль произвольно поворачивается (ЭУР) | Проблемы с проводкой | Проверить все элементы и починить/заменить поврежденные |
| Громкий гул во время поворота (ГУР) | Низкий уровень жидкости, изношены подшипники насоса | Проверить уровень жидкости, если низкий, найти и устранить утечку, если нормальный, заменить подшипники |
| Громкий гул во время поворота (ЭУР) | Изношены подшипники электромотора, высохла смазка редуктора | Снять и разобрать привод ЭУР, проверить его состояние, заменить подшипники (если нужно), заложить новую смазку |
Признаки неисправности рулевого управления
Проводить проверку рулевого управления необходимо каждые 80 тысяч километров пробега – такие цифры рекомендованы большинством производителей транспортных средств. Однако если вы активно эксплуатируете автомобиль, постоянно ездите по плохому дорожному полотну, любите экстремальную езду, то диагностика нужна чаще.
Также проверять рулевое управление необходимо после замены шин/колес. Кроме того, есть ряд специфических признаков, свидетельствующих о неисправности узла:
- Стук в передней части машины, который усиливается при выезде на бездорожье. Проблема указывает на поломку рулевых наконечников или тяг.
- Биение руля при езде по ровной дороге. Это может быть признаком некорректной балансировки колес или поломки рулевых наконечников/шаровых опор.
- Посторонний шум во время поворота руля. Свидетельствует либо о недостаточном количестве жидкости ГУР, либо о неисправности гидроусилителя.
- При езде по прямой с отпущенным рулем автомобиль уводит в сторону. Это признак неотрегулированного развал-схождения.
- Для поворота руля требуется прилагать больше усилий, чем обычно. Это говорит о неисправности ГУР.
- Поворот руля осуществляется рывками. Скорей всего, дело в ослаблении приводного ремня или выработке ресурса жидкости гидроусилителя.
Способы самостоятельной проверки рулевого управления
Самостоятельная проверка работоспособности управления должна стать неотъемлемой привычкой каждого водителя. Для ее выполнения понадобится всего лишь несколько минут. При этом не нужно использовать сложные методики или профессиональное оборудование.
Проверка на стоянке
Всегда обращайте внимание на площадку после стоянки. В случае проблем под днищем могут быть масляные пятна или капли
По ним можно определить вероятное место разгерметизации. Для выявления точной причины утечки нужен визуальный смотр на смотровой яме или подъемнике.
Для проверки люфта расположите автомобиль на ровной площадке, запустите двигатель на холостой ход. Далее сделайте отметку по центру рулевого колеса, чтобы определить его величину. Проворачивайте руль влево и вправо до момента начала вращения колеса. Затем прокрутите колесо до упора. В процессе вращения не должно быть никаких аномалий.
Проверка в движении
Проверять, как работает рулевое управление автомобиля на ходу важно, так как некоторые проблемы могут появляться только в процессе движения. Технология тестирования идентичная
Нужно вращать рулевое колесо сначала влево, а затем вправо, отслеживая любые аномалии — изменение усилий, амплитуду движения, возникновение вибрации, наличие посторонних звуков. При этом, должно быть достаточно места для безопасных маневров.
Основные этапы проверки
Проверка рулевого управления на всех машинах осуществляется по аналогичному принципу. Диагностика автомобиля КАМаЗ-4310, микроавтобусов, внедорожников и легковых ТС проводится одинаково. Она включает несколько основных этапов: оценку состояния узла в движении и визуально. Рассмотрим подробно каждый из них.
В движении
В первую очередь оцените состояние автомобиля на слух. Прокатитесь по ровной дороге, предварительно плотно закрыв окна и выключив музыку. Внимательно прислушивайтесь ко всем посторонним звукам, которые издает автомобиль. О неисправности рулевого управления свидетельствуют такие шумы:
- стук рейки;
- шум при повороте колес;
- шум в гидроусилителе руля.
Если на ровной дороге все тихо, попробуйте поездить по препятствиям – лежачим полицейским, бездорожью. Отлично, если и в таких условиях никаких посторонних шумов не обнаружится.
Вот еще несколько проблем с рулевым управлением, которые можно заметить на ходу:
- руль крутится слишком туго/легко;
- руль заедает;
- рулевое колесо вибрирует.
Отдельно стоит отметить принцип работы гидроусилителя. Чем выше скорость автомобиля, оснащенного ГУР, тем легче крутится руль. Соответственно, на низких скоростях для поворота рулевого колеса потребуется больше усилий. Обязательно учитывайте данный нюанс при проверке.
Визуальная оценка
Даже если во время движения вы не обнаружили никаких подозрительных признаков неисправности рулевого управления, лучше все же заглянуть под машину, чтобы убедиться в удовлетворительном состоянии всех элементов системы.
Чтобы провести проверку, понадобится домкрат, яма или подъемник. Оказавшись под днищем машину, смотрите на такие нюансы:
- нет ли масляных пятен на рулевой рейке или насосе гидроусилителя – при наличии таковых можно смело говорить о разгерметизации системы;
- есть ли зазоры в шарнирах рулевых тяг – если таковые обнаружатся, значит крепления механизма ослаблены, что может в любой момент обернуться внештатной ситуацией на дороге;
- насколько крепко и туго затянуты гайки на шарнирах – на всякий случай их стоит подтянуть, чтобы перестраховаться;
- нет ли механических повреждений на элементах рулевого управления – если дефекты имеются, необходимо менять неисправные детали.
Отдельно отметим важность проверки рулевых наконечников
Это один из ключевых элементов узла, поэтому ему нужно уделить особое внимание. Вот основные неисправности, свидетельствующие о необходимости ремонта или замены рулевого наконечника:
- разорванный резиновый пыльник;
- деталь влажная – под ней может не быть никакой лужи, однако даже «запотевание» наконечника свидетельствует о разгерметизации системы;
- цвет наконечника слишком темный, неестественный, со следами гари – это свидетельствует о перегреве и постоянной перегрузке узла;
- на детали есть серьезные дефекты – вмятины, глубокие царапины.
Важно понимать, что самостоятельная проверка рулевого управления не избавляет от необходимости регулярно проходить ТО в сервисном центре. Тем более, при диагностике своими руками есть вероятность пропустить некоторые нюансы, которые мастер обязательно заметит
Автоэксперты рекомендуют строго следовать регламентам профилактики и технического осмотра, указанным в инструкции по эксплуатации транспортного средства. Доверяйте автомобиль профессионалам, использующим в работе современное диагностическое оборудование, электронные стенды и специальные инструменты. То же касается и ремонта – не стоит самостоятельно вмешиваться в систему рулевого управления машины. При наличии малейших подозрений на наличие неполадок в механизме сразу же обращайтесь в сервисный центр.
Как обслуживать гидроусилитель, чтобы продлить срок службы рулевой рейки
Ресурс рулевой рейки с ГУР во многом зависит от правильности обслуживания самого гидроусилителя. И здесь главный вопрос — нужно ли производить замену.
Многие производители утверждают, что в выполнении этой работы нет необходимости, ведь рабочая жидкость залита на весь срок службы авто. При этом многие СТО рекомендуют периодическую замену и успешно делают такую работу.
Специалисты отмечают, что потемнение рабочей жидкости не свидетельствует об ухудшении ее характеристик и уверены, что ее замена может привести к проблемам.
Это связано с тем, что в процессе работы в систему может попасть воздух, а это приводит к появлению турбулентных потоков. Как результат, возникает масляное «голодание» насоса. Дополнительный момент — риск смывания грязи, накопившейся в магистрали, в рулевой механизм.
Если принято решение в сторону замены, необходимо учесть тип основания рабочей жидкости. Она может быть двух типов — синтетическая или минеральная.
Если залить «синтетику» в систему, где должна быть «минералка», высок риск повреждения резиновых элементов системы.
Чтобы избежать таких последствий, нужно точно знать требования завода-изготовителя.
Как долго можно ездить с неисправной рулевой рейкой
Ответ на этот вопрос напрямую зависит от того, насколько вы понимаете, что автомобиль – это источник повышенной опасности. То есть даже полностью исправная машина представляет угрозу, ведь во время движения она запасает огромную кинетическую энергию, поэтому остановить ее моментально невозможно. На скорости 100 км/ч тормозной путь составит десятки метров, а крутой маневр приведет к вылету с дороги из-за воздействия центробежной силы.
Поэтому любой дефект рулевой рейки в разы увеличивает опасность автомобиля, вне зависимости от того, износ это опорной втулки или тугое вращение руля из-за отказа ЭУР.
Кто-то ездит с изношенной зубчатой парой и огромным люфтом или плохо работающей гидросистемой годами, не попадая в аварию. А другой может врезаться в кого-нибудь, даже на полностью исправной машине, потому что не справился с управлением. Поэтому только вам решать, как долго можно ездить с неисправным рулевым управлением и готовы ли вы отвечать за последствия пренебрежения ремонтом, иными словами, какой уровень риска вы считаете допустимым для себя.
Езда со сломанной рейкой может закончится аварией
Вот только после аварии страховая компания назначит автотехническую экспертизу, по результатам которой станет ясно, что у машины было неисправное рулевое управление. А значит вы автоматически станете виновником ДТП. В лучшем случае, это будет означать увеличение стоимости ОСАГО и КАСКО, а в худшем — возбуждение уголовного дела с перспективой получения реального срока заключения.
Если же вопрос в том, можно ли доехать до места ремонта своим ходом при серьезных повреждениях рулевого управления, то все зависит от того, сможете ли вы направлять автомобиль в нужную сторону на выбранной скорости движения (обычно 10–40 км/ч). Мы рекомендуем в таких случаях не рисковать и вызывать эвакуатор.
ТО рулевого управления
EO. Проверять:
- при внешнем осмотре состояние гидроусилителя руля;
- люфт руля;
- наличие люфта в наконечниках рулевых тяг;
- состояние ограничителей максимального угла поворота.
ТО-1. Проверять:
- герметичность системы гидроусилителя руля;
- гайки крепления и раскалывания шариковых шпилек, сошек, шкворней шкворня;
- состояние штифтов и стопорных шайб гаек;
- люфт руля и шарниров рулевой тяги;
- герметичность системы гидроусилителя руля;
- затяжка гаек клиньев вала рулевого привода.
А-2. Проверять:
- герметичность системы гидроусилителя руля;
- крепление рулевого механизма, рулевой колонки и рулевого колеса;
- люфт в рулевом управлении, рулевых тягах и шарнирах;
- держатель сошек;
- закрепить и разрезать гайки с шариковыми шпильками и шпильки рычагов, а также гайки шпилек;
- состояние и крепление вала рулевого привода.
Снимите и промойте фильтры насоса гидроусилителя рулевого управления.
Стоит ли ремонтировать?
В вопросе, стоит ли ремонтировать рулевую рейку, ведется много дискуссий. Здесь нужно комплексно подходить к проблеме, и понимать, в чем причина неисправности.

Наиболее надежный и дорогой вариант — замена изделия на оригинал.
Но такое решение по карману далеко не всем автовладельцам, поэтому многие ищут варианты для экономии.
Как результат, покупается не оригинальная / контрактная рейка, способная прослужить еще много лет.
Альтернативное решение — покупка ремкомплекта с сальниками, втулками и пыльниками.

При выборе такого варианта важно отдать предпочтение качественному комплекту, ведь от этого зависит срок службы отремонтированной рейки. Также нужно доверить работу профессионалу по ремонту, у которого имеется достаточный опыт
Также нужно доверить работу профессионалу по ремонту, у которого имеется достаточный опыт.
Следовательно, для получения результата нужно обратиться в проверенное СТО и купить качественный ремонтный комплект. Это позволяет сэкономить, но нужно требовать гарантию на работы.
В случае с рулевой рейкой на ЭУР, как правило, предпочтение отдается ремонту, но не всегда это возможно, ведь даже на СТО чаще всего рекомендуют сразу делать замену.
Это связано с тем, что шлифовать при механической поломке здесь нельзя, а неисправности, связанные с электроникой, требуют больших временных затрат.
То есть ремонт возможен только при незначительной неисправности, характерной для механических аналогов. В ином случае, с вероятностью 90%, деталь идет под замену.
Если рассуждать с позиции производителей автомобилей, они вообще не приемлют ремонт и рекомендуют сразу менять механизм в сборе при любой поломке. Но так было не всегда.
Ориентировочно до 2005 года рулевые рейки считались обслуживаемыми, и многие официальные сервисы шли на замену отдельных запчастей. Теперь же этот узел является необслуживаемым.

Заводы-изготовители не продают оригинальные запчасти, поэтому восстановление устройства выполняется на свой страх и риск.
Владельцы автомобилей вынуждены покупать ремонтные комплекты на стороне и рассчитывать на их качество.
Основные неисправности рулевого управления
Для понимания неполадок важно разобраться, как устроено рулевое управление автомобиля. Знание конструкции является ванным фактором и для качественной диагностики
При визуальном осмотре можно подтвердить наличие или отсутствие определенных поломок. Основными элементами системы являются:
- Руль. Специальное колесо для управления направлением движения путем вращения. Может оснащаться подушкой безопасности, дополнительными кнопками для работы с мультимедийной системой, другими опциями.
- Рулевая колонка. Передаточный узел, который включает электронные и механические средства блокировки, защиты, анализа и контроля над управлением автомобилем. Включает замок зажигания, органы управления освещением, дворниками и другие узлы.
- Рулевой механизм. Редуктор с передаточным отношением, передающим усилия от рулевой колонки на карданный вал с элементами привода.
- Рулевой привод. Совокупность специальных тяг, наконечников и рычагов, которые непосредственно передают усилия от вращения руля на колеса.
- Усилитель и дополнительные элементы. Система для повышения усилий, которая позволяет, не прилагая большой силы, вращать рулевое колесо. Дополнительными элементами могут выступать различные датчики и электронные блоки.
Дополнительно
Конструкция систем рулевого управления автомобилей может иметь существенные отличия при сравнении автомобилей разных поколений и производителей. При этом, можно выделить общие неисправности схожих или идентичных деталей, узлов и механизмов:
- Повреждение шарниров. Сложные подвижные соединения, которые подвергаются большим нагрузкам в движении и особенно при маневрировании. Они могут быть повреждены при длительной эксплуатации, из-за наезда на препятствия, в аварийных ситуациях.
- Разрушение сальника. Сальники представляют собой резиновые уплотнители соединений металлических деталей, передающих крутящие моменты. Они амортизируют удары, снижают трение, удерживают смазку.
- Выход из строя усилителя. Любые системы усиления передачи механической энергии подвержены износу. При их поломках для вращения рулевого колеса придется прилагать в несколько раз больше сил.
- Деформация тяг или рычагов. Эти детали также могут быть повреждены при экстремальном вождении, в аварийных ситуациях. В большинстве случаев их заменяют, исключая реставрацию.
- Поломка механизма блокировки. При содержании машины в сложных климатических условиях, с высоким уровнем влажности, частыми колебаниями температур, ржавление или окисление механизмов, как и проводки, — довольно распространенная проблема.
- Износ подшипников. Они обеспечивают беспрепятственное вращение валов и рычагов, сохраняя прочное физическое соединение между деталями. При использовании качественных комплектующих элементов подшипники выходят из строя довольно редко.
3 способа самостоятельной проверки рулевого управления
Эти методы больше применимы в случае приобретения подержанных машин. Однако никто не мешает пользоваться ими для поиска неисправностей автомобиля и в других случаях. Главное поставить для себя цель и постараться посмотреть на личное авто как бы со стороны, свежим взглядом.
1. Диагностика системы рулевого управления по звуку
Предполагает поездку на машине по ровному асфальту и грунтовой дороге. Никаких лишних звуков в салоне, отключить музыку, окна должны быть закрыты. Тщательно прислушиваться ко всем шумам, издаваемым автомобилем. Всевозможные хрусты, поскрипывания, стуки, шум и лязг – явный сигнал о неполадках в автомобиле.
Если рулевой механизм расшатан:
- Стук рейки хорошо слышен в салоне – при плохом качестве дорог быстро срабатываются и расшатываются комплектующие подвески.
- Посторонний звук во время поворота колес – при первых таких признаках уважающий себя автовладелец сразу же ремонтирует рулевую систему, так как эксплуатация автомобиля с подобными дефектами небезопасна. Если же шум при повороте обнаруживается во время предпродажного осмотра машины, это серьезный аргумент в пользу недоверия к прошлому хозяину.
- Шум от насоса гидроусилителя, если таковым оснащен автомобиль, свидетельствует о необходимости его замены.
2. Диагностика рулевого управления во время движения
Подразумевает наличие некого шестого чувства, то есть способности ощущать и понимать неполадки. Нужно занять место в водительском кресле и повращать рулевое колесо в обе стороны. О скорой поломке рулевой системы свидетельствуют следующие признаки:
тяжелое вращение руля – признак сбитых углов установки колес. При этом руль стоит неровно;
слишком легкое вращение руля
Этот момент нецелесообразно проверять на скользком дорожном покрытии, так как в таких условиях легко дается поворот даже исправного рулевого колеса;
заедание или люфт руля – признак изношенности шарниров наконечника рулевой тяги или подшипника вала рулевого механизма;
вибрация во время поворота, – вероятно, нужно обратить внимание на подшипник вала рулевой колонки.
Следует знать и учитывать, что усилитель рулевого управления при наличии ведет себя по-разному в зависимости от скорости автомобиля. Скорость растет – снижается усилие поворота руля, падает скорость – оно возрастает. При движении по ровной прямой трассе машину не должно уводить в сторону. Если же такое случается, налицо явный дефект рулевой рейки.
3. Визуальный осмотр
Допустим, не обнаружено явных дефектов рулевой во время движения, таких как люфты и стуки, шум. Если машина хорошо держит дорогу, рулевой механизм и подвеска работают в штатном режиме, тогда нецелесообразно самостоятельно осматривать болты, шарниры и наконечники. Вероятнее всего, данные узлы в исправном состоянии. Но если осмотр вызывал некоторые подозрения, тогда стоит обследовать проблемный узел с ямы или на эстакаде.
Обратить внимание на следующее:
наличие или отсутствие масляных подтеков на рулевой рейке и насосе гидроусилителя
В случае обнаружения следов масла нужно проверить герметичность данных узлов;
зазоры шарниров рулевых тяг; обязательно уделить внимание этому моменту, так как часто встречается ослабление крепежа;
надежность затяжки гаек шарниров;
отсутствие видимых механических дефектов.. При диагностике неисправностей рулевого управления надо обратить внимание не только на посторонний шум, стук и склонность терять направление движения, но также осмотреть колеса
В первую очередь оценить равномерность износа протектора всех покрышек, наличие балансировки, проверить давление в шинах (должно соответствовать требованиям завода). Данные дефекты могут быть как следствием неполадок в рулевом механизме, так и признаком изменения геометрии кузова, неисправности подвески, нарушенным сходом-развалом и других неисправностей. Совершенно однозначно, что игнорировать такие дефекты нельзя!
При диагностике неисправностей рулевого управления надо обратить внимание не только на посторонний шум, стук и склонность терять направление движения, но также осмотреть колеса. В первую очередь оценить равномерность износа протектора всех покрышек, наличие балансировки, проверить давление в шинах (должно соответствовать требованиям завода)
Данные дефекты могут быть как следствием неполадок в рулевом механизме, так и признаком изменения геометрии кузова, неисправности подвески, нарушенным сходом-развалом и других неисправностей. Совершенно однозначно, что игнорировать такие дефекты нельзя!
Устранение неисправностей рулевого управления без ГУР
Увеличенный свободный ход рулевого колеса возможен по следующим причинам: наличие зазоров в шарнирах рулевых тяг передних колес, нарушение регулировки зацепления червяка и ролика или повышенный их износ, износ втулок или оси маятникового рычага, ослабление крепления картера рулевого механизма или кронштейна маятникового рычага. Для определения зазоров в шарнирах рулевых тяг рекомендуется одному человеку резкими движениями поворачивать рулевое колесо вправо-влево, а второму на ощупь или визуально выявлять зазоры, прижав пальцы к двум деталям, соединяемым шарнирами.
Если одна деталь соединения перемещается, а другая неподвижна, то имеется люфт; если же перемещаются обе детали одновременно, то люфта нет . Определить люфт в шарнирных соединениях можно также перемещением тяги руками в продольном направлении. Если, например, продольная тяга перемещается вместе с сошкой, то люфт в шарнирном соединении отсутствует. Обнаруженный даже малый зазор в шарнире необходимо устранить (заменить шарнир).
Нарушение регулировки зацепления червяка и ролика или повышенный их износ также определяются при резком покачивании рулевого колеса (вправо-влево от среднего положения) по возникновению при этом стуков в рулевом механизме. Можно это сделать и непосредственно, покачивая рукой сошку рулевого привода. Устраняется неисправность регулировкой зацепления червяка и ролика, а в случае их большого износа — заменой деталей.
Износ втулок или оси маятникового рычага определяется по скрипу и стукам при повороте колес вправо и влево, а также при непосредственном покачивании маятникового рычага вверх и вниз. Устраняется неисправность подтяжкой гайки оси маятникового рычага или заменой изношенных деталей. Ослабление крепления картера рулевого механизма и кронштейна маятникового рычага устраняется подтяжкой соответствующих болтов и гаек.
Тугое вращение рулевого колеса или заедание в рулевом механизме может быть из-за неправильной регулировки бокового зазора в зацеплении червяка, чрезмерной затяжки подшипников червяка, увеличенного износа ролика или червяка, погнутости рулевых тяг, недостаточного количества масла в картере рулевого механизма, загустевания смазки при низкой температуре воздуха, пониженного давления в шинах передних колес.
Если при движении автомобиля ощущается тугое вращение рулевого колеса или заедание в рулевом механизме, то, прежде всего, необходимо проверить давление воздуха в шинах и смазку в картере рулевого механизма. Затем проверить состояние рулевых тяг. Если тяги погнуты — их надо выправить или заменить, а затем обязательно отрегулировать схождение колес. Если заедание не исчезло — нужно разобрать рулевой механизм и заменить изношенные и поврежденные детали. Стуки в рулевом управлении имеют те же причины, что и увеличенный свободный ход рулевого колеса. Их определение и способы устранения были рассмотрены выше.
Течь смазки из картера рулевого механизма может происходить вследствие износа сальника вала сошки или червяка, ослабления крепления крышки картера или повреждения прокладок. Дефект устраняется заменой изношенных сальников или поврежденных прокладок, протяжкой болтов крепления крышки.
Плохое возвратное действие
| Состояние | Возможные причины | Действие |
| Жесткая или тяжелая работа рулевого управления | Неправильный тип шины или неправильное давление в шинах. | Установите правильные шины или доведите давление в шинах до нормы. |
| Неправильная выверка или заедание универсального шарнира. | Отпустите или замените универсальный шарнир, правильно выставьте его. | |
| Неправильная регулировка рулевого механизма. | Отрегулируйте рулевой механизм.
За дополнительной информацией обратитесь к: Регулирование рулевого механизма (211-00 Система рулевого управления — Общая информация, Общие процедуры). |
|
| Заедание шаровых шарниров рулевого управления. | Замените заедающие элементы. | |
| Поворотные шкворни требуют смазки или регулировки предварительного натяга подшипников. | Смажьте поворотные шкворни или отрегулируйте предварительный натяг подшипника. | |
| Износ или заедание рулевого механизма. | Отремонтируйте рулевой механизм. |
Основные регулировочные работы по рулевому управлению легковых автомобилей
Рулевое управление современных автомобилей практически не требует обслуживания, однако необходимо постоянно проверять состояние защитных кожухов шаровых опор, люфт в деталях рулевой трансмиссии.
В автомобилях старых конструкций возможна регулировка люфта: в подшипниках рулевого механизма и в зацеплении ролика с червяком; в реечных рулевых механизмах.
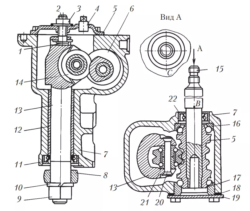
Для регулировки зазоров в подшипниках рулевого червяка (рис.12): поверните рулевое колесо на один оборот — на полтора оборота влево, открутите болты крепления нижней крышки 19 и слейте масло из корпуса червяка рулевое управление. После снятия крышки снимите необходимое количество регулировочных шайб 18. Далее, закрепив нижнюю крышку, еще раз проверьте, нет ли осевого перемещения червяка в подшипниках. При отсутствии движения масло заливается в картер и проверяется усилие вращения рулевого колеса (кладя передние колеса на гладкую пластину), которое не должно превышать 200 Н.

Рис. 12. Схема червячного рулевого механизма: 1 — пластина регулировочного винта вала сошки; 2 — регулировочный винт; 3 — стопорная гайка; 4 — заглушка; 5 — крышка корпуса рулевого механизма; 6 — червяк; 7 — корпус рулевого управления; 8 — сошки; 9 — гайка крепления сошки; 10 — шайба пружинная; 11 — сальник вала сошки; 12 — втулка; 13 — вал сошки; 14 — вал сошки роликовый; 15 — вал червячный; 16, 17 — червячные подшипники; 18 — толщины; 19 — нижняя крышка картера; 20 — ось ролика; 21 — роликовый подшипник; 22 — сальник червячного вала; B, C — этикетки
После проверки и устранения люфта в деталях рулевого механизма (в случае обнаружения большего люфта в рулевом механизме) регулируют расстояния зацепления ролика с червячным винтом. Для этого ослабьте контргайку 3 регулировочного винта 2 и, приподняв пружинную шайбу 10, затяните регулировочный винт до установления зазора (не рекомендуется перетягивать регулировочный винт). Затем, удерживая регулировочный винт отверткой, затяните контргайку. Убедившись, что рулевой механизм имеет допустимый люфт, проверьте усилие поворота рулевого колеса. Если оно больше 200 Н, ослабьте регулировочный винт.
Регулировка люфта в реечных механизмах рулевого управления осуществляется при большей величине люфта рулевого управления (рис. 13). Во время работы в конструкции реечного механизма рулевого управления может возникнуть повышенный люфт из-за увеличенного люфта между рейкой и шестерней, поэтому производители рекомендуют затягивать регулировочный винт или гайку, чтобы исключить зазор. Люфт также можно устранить с помощью регулировочного винта, повернув его на 20°.

Рис. 13. Рейка и шестерня автомобиля Audi типа: 1 — регулировочный винт; 2 — нижний вал рулевой колонки; 3 — хомут; 4 — крышка
В настоящее время с учетом повышенных требований к рулевому управлению проводится не восстановление отдельных его частей, а замена шарниров рулевых частей.
Для замены соединительных шарниров рулевого управления используйте специальные съемники (рис. 14). Гайки крепления шаровых пальцев боковых и центральных тяг к сошке откручиваются и выпрессовываются из отверстий сошки и рычага.

Рис. 14. Внешний вид универсального съемника для выдавливания шариковых пальцев
Чтобы установить новый шарнир, очистите внутреннюю поверхность гнезда штока под корпусом шарнира и вдавите новый шарнир в отверстие в штоке до упора. В новый колпачок налить 6… 10 г смазки «Литол-24». Прижмите колпачок к молнии с помощью универсального съемника и закрепите колпачок на булавке стопорным кольцом.
При снятии крышки рулевого механизма обратите внимание на количество и положение шайб между лонжероном и крышкой (если есть), чтобы их можно было заменить при установке крышки. Это необходимо для сохранения соосности рулевого вала и червячного вала
Видео:Рулевое управление Устройство Принцип работы Основные неисправностиСкачать































